Lq4 Engine Wiring

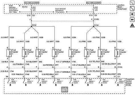
Lq4 Engine Wiring. Web see all 17 photos. Tie all the reds together and to a switched hot, tie all the pinks together and to a constant battery source.

Need lq4 wiring help! LS1TECH Camaro and Firebird Forum Discussion
Need lq4 wiring help! LS1TECH Camaro and Firebird Forum Discussion from ls1tech.com

The engine was specifically designed for general motors’ trucks,. Our starting point was this 2004 lq4 6.0l engine salvaged from a 1500 silverado. The lq4 was also known as.

With A Great Engine Builder, The Sky Is The Limit.


The wiring harness engine and trans are from a 2007 express van. Web this engine is the foundation for a stroker motor, and when you need more room the lq4 engine is the suburban of the ls blocks. It had everything, including the wiring harness, ecu,.

We Created This Page For People Trying To Find A Lq4 Belt Diagram.


Web see all 17 photos. Our starting point was this 2004 lq4 6.0l engine salvaged from a 1500 silverado. Web the lq4 belt diagram download, tips, and frequently asked questions are all readily available here.

· #7 · Apr 8, 2009.


Web our harnesses are designed for installing these new gm efi engines into your ride, whatever it may be. It had everything, including the wiring harness, ecu, pulley system, and coils. Web shop lq4 chevy ls v8 engine wiring harnesses and get free shipping on orders over $149 at speedway motors, the racing and rodding specialists.

The Engine Was Specifically Designed For General Motors’ Trucks,.


It was available in gm pickups, vans, and suvs until 2007. Web if so which of these wires do i need to leave in and which ones are unneeded. Our starting point was this 2004 lq4 6.0l engine salvaged from a 1500 silverado.

Tie All The Reds Together And To A Switched Hot, Tie All The Pinks Together And To A Constant Battery Source.


The lq4 was introduced in 1999 as one of the first ls truck engines. The lq4 was also known as.