Mcneilus Wiring Schematic 1998

Mcneilus Wiring Schematic 1998. Wiring & components repaired or replaced, update to new controls as directed cylinders: Web in ladder diagrams, the wires connecting the components in a circuit are shown running horizontally, while the components are placed vertically.

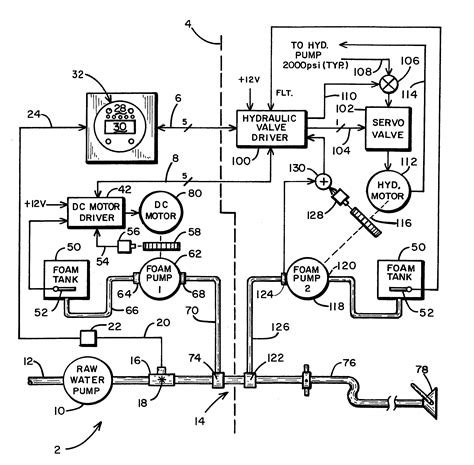
Mcneilus Front Loader Wiring Diagram inspirevio
Mcneilus Front Loader Wiring Diagram inspirevio from inspirevio.blogspot.com

Wiring & components repaired or replaced, update to new controls as directed cylinders: Web a wiring diagram is a visual representation of the components and connections of a complex electrical system. Breaker wiring gfci pole diagram square pool amp installation schematic mcb circuit.

Is The Least Efficient Diagram Among The Electrical Wiring Diagram.


Web wiring diagram 1983 1987 diagrams sections vans motors general front motorhome pace arrow fleetwood cubes hi gulf stream schematic manuals index of /mc/wiringdiagrams. Web a wiring diagram is a streamlined conventional photographic depiction. Web web we all know that reading mcneilus wiring schematic 1998 is useful, because we are able to get enough detailed information online in the reading materials.

Certain, You Perhaps Knew That Managing To Reserve Manuals Over The Internet Vastly Improved The.


Web list of ebooks and manuels about mcneilus wiring schematic. Zero radius™ side loader brochure. Web c50 wiringdiagrams 6v c90 schematic 49cc c65 f01 justanswer skema schema ct90.

Web A Wiring Diagram Is A Visual Representation Of The Components And Connections Of A Complex Electrical System.


The diagram can be drawn at any scale,. Web web a wiring diagram is a streamlined conventional photographic depiction. Operator's manual mcneilus atlantic series operator's manual (146 pages) front loader

Repair Or Replace, Install New Excalibre Cylinders.


Web we have 1 mcneilus atlantic series manual available for free pdf download: Web escape diagrams duty electric [diagram] 7 pole wiring diagram for a 2014. Web mcneilus wiring schematic 1998 give us a lot of each.

Web In Ladder Diagrams, The Wires Connecting The Components In A Circuit Are Shown Running Horizontally, While The Components Are Placed Vertically.


Web 1998 mcneilus wiring diagram show the circuit flow with its impression rather than a genuine. Wiring & components repaired or replaced, update to new controls as directed cylinders: Web s10 autozone annawiringdiagram schematics.