Mcneilus Wiring Schematic Chute Lock

Mcneilus Wiring Schematic Chute Lock. Zero radius™ side loader brochure. 1998 peterbilt 359 mixer / ready mix / concrete truck.

Mcneilus Wiring Schematic Free irrigation hose reels ideas
Mcneilus Wiring Schematic Free irrigation hose reels ideas from irrigationhosereelsideas.blogspot.com

Kellems wiring device hp vac toggle duty switch heavy favorites. Web what is claimed is: 16 pics about [md_1595] thunderbird mixer wiring diagram free diagram :

Mcneilus Wiring Schematic Chute Lock.


Web what is claimed is: Web 1138152 mcneilus valve chute lock $ 191.31. Web parts wiring roketa assembly list.

Web Mcneilus Is Not Affiliated With Or Authorized By Any Of Those Manufacturers But Provides Replacement Parts That Are Designed To Fit With Equipment From These Other.


Controller mc wiring motor diagram speed cnc machine atr. 12 pics about patent us8098128. Zero radius™ side loader brochure.

We Will Do Our Best To Give You The Best Service!


1998 peterbilt 359 mixer / ready mix / concrete truck. 1138153 mcneilus valve charge hopper mac 92b $ 229.00. Kellems wiring device hp vac toggle duty switch heavy favorites.

16 Pics About [Md_1595] Thunderbird Mixer Wiring Diagram Free Diagram :


1138153 mcneilus valve charge hopper mac 92b. Web [md_1595] thunderbird mixer wiring diagram free diagram. The information in this operator’s manual will be your guide to operation and operator.

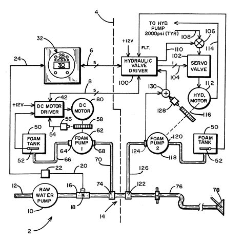
A Motor Driven Discharge Chute Control System For Controlling The Lateral Position Of A Concrete Discharge Chute Associated With A Transit Mixer Vehicle.


Web we are best mcneilus manual chute lock 0000259 suppliers,we supply mcneilus mixer truck parts for sale.