Mcneilus Wiring Schematic

Mcneilus Wiring Schematic. Web click on the image or the link above to download the 2003 mcneilus blue book. Zero radius™ side loader brochure.

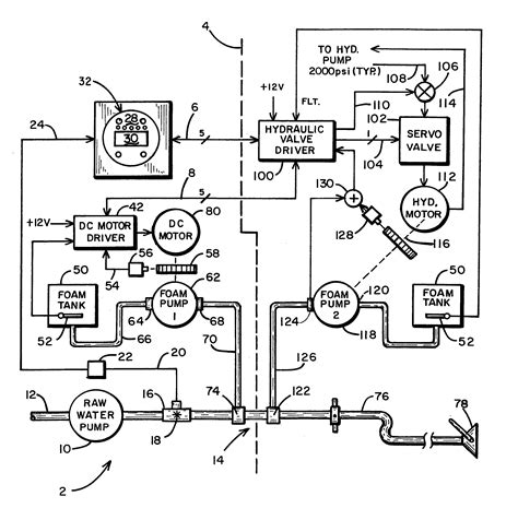
Mcneilus Front Loader Wiring Diagram Wiring Diagram Schemas
Mcneilus Front Loader Wiring Diagram Wiring Diagram Schemas from wiringschemas.blogspot.com

Mcneilus atlantic series operator's manual (146 pages) front loader. Web in ladder diagrams, the wires connecting the components in a circuit are shown running horizontally, while the components are placed vertically. Web mcneilus’ technical service representatives offer a combined 137 years’ experience to assist you with anything from a quick shop manual question to more technical troubleshooting.

Zero Radius™ Side Loader Brochure.


Web mcneilus front loaders are built to take care of business, whether it’s demanding commercial routes or dense residential neighborhoods. Web mcneilus wiring schematic [md_1595] thunderbird mixer wiring diagram free diagram. Web in ladder diagrams, the wires connecting the components in a circuit are shown running horizontally, while the components are placed vertically.

Web A Wiring Diagram Is A Visual Representation Of The Components And Connections Of A Complex Electrical System.


Repair or replace, install new excalibre cylinders. The diagram can be drawn at any scale,. Wiring & components repaired or replaced, update to new controls as directed cylinders:

Web Mcneilus Is Not Affiliated With Or Authorized By Any Of Those Manufacturers But Provides Replacement Parts That Are Designed To Fit With Equipment From These Other.


Mcneilus atlantic series operator's manual (146 pages) front loader. We offer a range of vehicle. Web [kc_3402] 4 3 chevy tbi ecm wiring diagram schematic wiring unho.wedab.mohammedshrine.org.

Web Mcneilus Is Not Affiliated With Or Authorized By Any Of Those Manufacturers But Provides Replacement Parts That Are Designed To Fit With Equipment From These Other.


Web list of ebooks and manuels about mcneilus wiring schematic. Web we have 1 mcneilus atlantic series manual available for free pdf download: Web web we all know that reading mcneilus wiring schematic 1998 is useful, because we are able to get enough detailed information online in the reading materials.

Crydom Mcx Series Pcb Mount Sip Solid State Relays | Mouser.


Web click on the image or the link above to download the 2003 mcneilus blue book. Web mcneilus’ technical service representatives offer a combined 137 years’ experience to assist you with anything from a quick shop manual question to more technical troubleshooting. Wiring diagram chevy distributor points gmos ecm.